Documentation technique

Fonctionnement du funitel Garaventa

Funitel en montagne

Principe général

Le funitel est un téléphérique débrayable à deux câbles porteurs-tracteurs. Inventé par Denis Creissels, ce système se distingue par l'écartement important entre les deux câbles (3,2 m), ce qui lui confère une excellente stabilité et résistance au vent.

Les cabines circulent accrochées aux câbles en ligne, puis se débrayent en gare pour ralentir et permettre l'embarquement des passagers. Le système forme une boucle continue : les cabines partent d'une gare, traversent la ligne, arrivent à l'autre gare, font demi-tour et repartent.

Configuration des câbles

Le funitel utilise un câble unique en boucle fermée qui, grâce à des poulies de déviation, forme deux spirales (boucle interne et boucle externe) se croisant une fois. Cette configuration permet d'avoir quatre brins de câble parallèles : 2 en montée, 2 en descente.

Schéma du principe général de fonctionnement du funitel
Principe général de fonctionnement

Les quatre brins circulent à la même hauteur, espacés de manière régulière. L'écartement de 3,2 mètres entre les câbles permet aux cabines de rester stables même par vent fort (fonctionnement possible jusqu'à 100 km/h).

Cette configuration avec un câble unique simplifie le système de tension et aide à la synchronisation des 2 voies.

Cabine et système de pinces

La cabine

Les cabines du funitel sont de grande capacité (24 à 30 personnes). Elles sont suspendues aux câbles par un système de suspension à deux bras.

Le système de pinces

Chaque cabine est équipée de 4 pinces débrayables, réparties sur deux bras de suspension (2 pinces par bras). Les pinces assurent l'accrochage de la cabine aux câbles tracteurs. Elles ont été conçue par la société Städeli-Lift AG, que Garaventa a racheté au début des années 90.

Fonctionnement des pinces :

  • En ligne : les pinces sont fermées par des ressorts, la cabine est tractée par les câbles
  • En gare : des cames actionnent l'ouverture des pinces, la cabine est libérée et prise en charge par le convoyeur

Schéma général des gares

Le funitel comporte deux gares : la gare aval (motrice) et la gare amont (retour/tension). Chaque gare assure plusieurs fonctions : débrayage, ralentissement, contour, accélération et embrayage des cabines. Entre les 2 voies dans chaque gare, les cabines peuvent être stockées dans une voie de garage accessible par une plaque tournante.

Gare amont (retour)

La gare amont assure le renvoi des câbles et leur mise en tension. Les cabines y effectuent leur demi-tour. La tension est effectuée par un contrepoids de 140 tonnes logé dans une fosse de 33m de profond.

Coupe de la gare amont
Coupe de la gare amont

Gare aval (motrice)

La gare aval contient le système d'entraînement des câbles. C'est là que se trouvent les poulies motrices et les moteurs.

Coupe de la gare aval
Coupe de la gare aval (motrice)
Poulies de déviation en gare aval
Poulies de déviation en gare aval

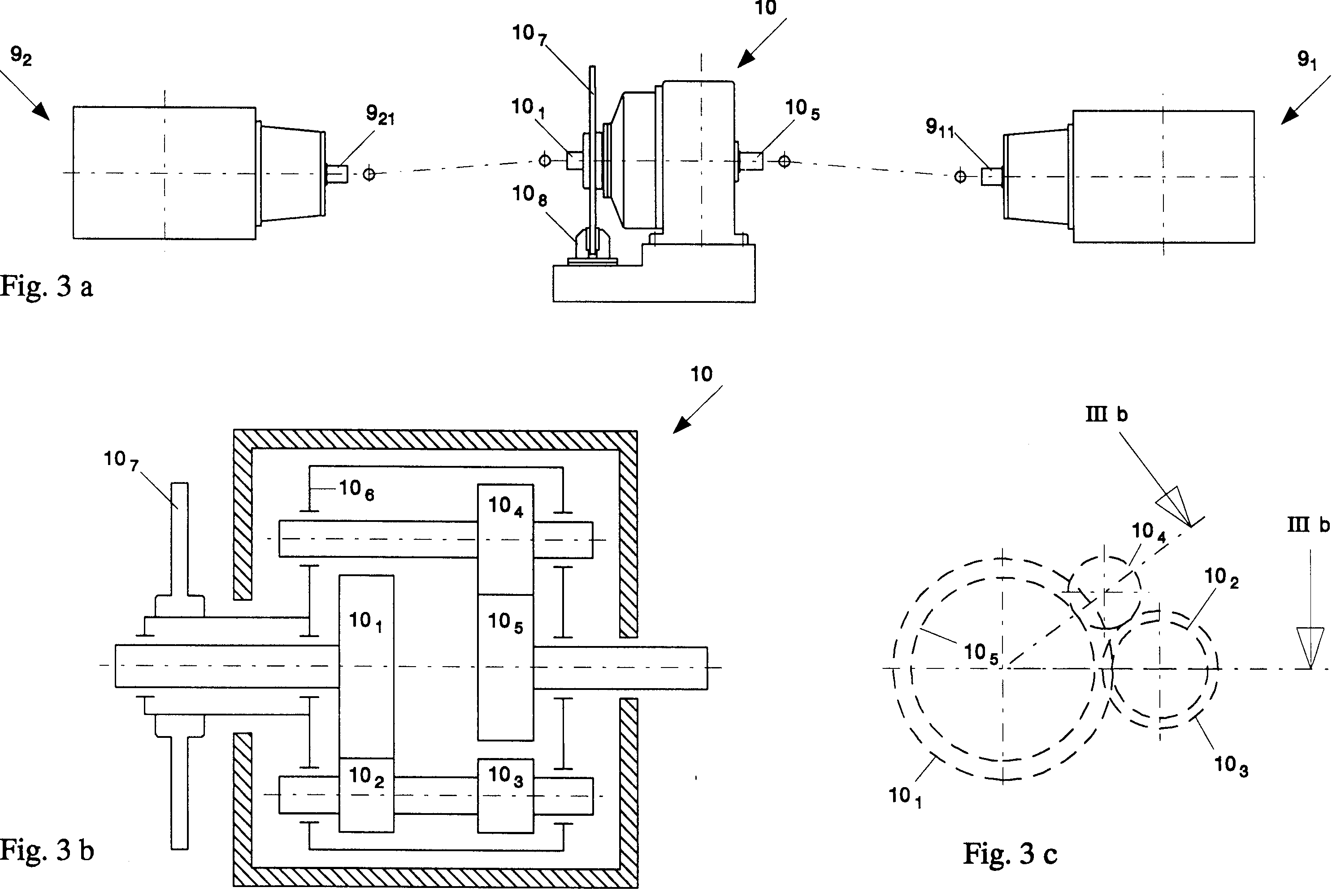
Motorisation

Les poulies motrices

Le système comporte deux poulies motrices indépendantes, décalées latéralement. Chaque poulie possède une gorge pour accueillir une des deux spirales du câble (interne et externe).

Poulies motrices en gare aval
Les deux poulies motrices

Les moteurs électriques

Chaque poulie est entraînée par son propre groupe moteur-réducteur comprenant :

  • Moteur principal à courant continu BBC
  • Moteur hydraulique de secours : s'engraine directement sur une couronne de la poulie motrice
  • Réducteur
  • Freins : frein de service sur l'arbre rapide et frein de sécurité sur la poulie motrice
Moteur électrique en gare aval
Moteur électrique d'entraînement et frein de service

Synchronisation des moteurs

Les deux poulies doivent tourner exactement à la même vitesse. La synchronisation est assurée par régulation électrique. Un moteur est défini maître et l'autre esclave.

  • Le courant d'induit du moteur principal (maître) est mesuré en continu
  • Une unité de contrôle ajuste le courant du moteur auxiliaire (esclave) pour maintenir l'égalité
  • Cette méthode évite d'avoir à mesurer directement les vitesses des câbles

Le différentiel

Un différentiel épicycloïdal relie les deux réducteurs. Il est composé de :

  • Deux roues centrales (une par réducteur)
  • Trois roues planétaires montées sur un porte-satellites
  • Un plateau de frein solidaire du porte-satellites

Son rôle principal est de permettre le freinage synchronisé.

Freinage (différentiel bloqué)

Lors du freinage, le porte-satellites du différentiel est immobilisé par un frein de stationnement. Cela crée une liaison rigide entre les deux réducteurs : les deux poulies sont alors mécaniquement solidaires et freinent de manière parfaitement synchrone.

Ce blocage garantit un freinage identique des deux côtés, indépendamment du coefficient de friction câble/poulie à chaque point de contact. Les cabines restent ainsi parfaitement stables pendant le ralentissement.

Sources